Запасные части ЧТЗ Запасные части ЧТЗ
Санкт-Петербург
Например:
Актобе
Алдан
или
Выбрать автоматически
Актобе
Алдан
Алматы
Алчевск
Архангельск
Астана
Астрахань
Атырау
Баку
Балашиха
Барнаул
Белгород
Бердянск
Бишкек
Владивосток
Владикавказ
Воркута
Воронеж
Горловка
Грозный
Донецк
Екатеринбург
Иваново
Ижевск
Иркутск
Казань
Калининград
Каменск-Уральский
Караганда
Каховка
Кемерово
Киров
Комсомольск-на-Амуре
Костанай
Краснодар
Красноярск
Красный луч
Ленск
Луганск
Магадан
Магнитогорск
Макеевка
Махачкала
Мелитополь
Минск
Мирный (Якутия)
Москва
Мурманск
Нерюнгри
Нижневартовск
Нижний Новгород
Нижний Тагил
Новая каховка
Новокузнецк
Новосибирск
Новый Уренгой
Норильск
Ноябрьск
Нур-Султан
Омск
Оренбург
Ош
Павлодар
Пермь
Петрозаводск
Петропавловск
Петропавловск-Камчатский
Псков
Ростов-на-Дону
Салехард
Самара
Санкт-Петербург
Саратов
Севастополь
Семей
Симферополь
Сочи
Ставрополь
Сургут
Сыктывкар
Тараз
Ташкент
Токмак
Томск
Тында
Тюмень
Ульяновск
Усинск
Усть-Каменогорск
Уфа
Хабаровск
Ханты-Мансийск
Херсон
Челябинск
Чита
Шымкент
Экибастуз
Энергодар
Южно-Сахалинск
Якутск
Ваш город
Санкт-Петербург
Войти
Запасные части к тракторам на одном сайте
+7 (932) 303-00-10
+7 (932) 303-00-10
г. Санкт-Петербург, 1-й Верхний переулок, д. 12Б
Пн-Пт: 9:30-18:30 Cб-Вс: Выходной
Отправить заявку


Отопитель-вентилятор на Т10М / Б10М


/
с НДС 20%
Описание
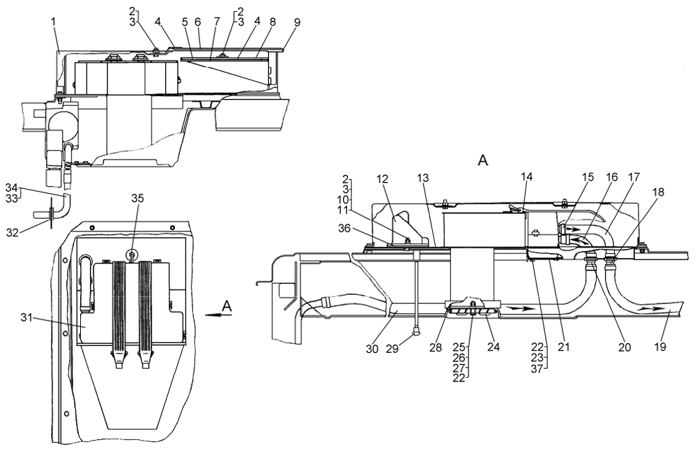
Отопитель-вентилятор на Т10М
# Номер запчасти Наименование детали Кол-во в сборке
- 50-47-211СП Отопитель-вентилятор 1
1 50-47-132СП Кожух 1
2 - Гайка М8-7Н.6.019 6
3 - Шайба 8Т 65Г 09 6
4 50-47-77 Накладка 4
5 50-47-75 Рамка 2
6 50-47-152СП Крышка 1
7 50-47-76 Фильтр 1
8 700-40-7653 Уплотнение 1
9 50-47-93 Стержень 1
10 - Болт M8-6g×20.88.35.019 2
11 31386-1 Шайба 2
12 50-47-163СП Корпус 1
13 50-47-212СП Основание 1
14 - Ремень 2105-13110090 2
15 - Хомут червячный SGT 20-32/9 8
16 700-46-2313 Шланг 1
17 - Шланг 2101-81012 04 1
18 50-47-235 Т рубка 2
19 700-46-2312 Рукав 1
20 700-40-9193 Кольцо 2
21 700-40-9191 Прокладка 1
22 31358-1 Шайба 4
23 1052500200 Саморез 5g×20 3
24 50-47-44 Воздухораспределитель 1
25 50-47-45 Зажим 1
26 - Болт M6-6g×25.88.35.019 1
27 - Гайка М6-7Н.6.019 2
28 700-40-9194 Уплотнение 1
29 17-74-207 Рукоятка 1
30 700-46-2312-02 Рукав 1
31 - Отопитель XEROS 4000 1
32 41879 Кольцо 2
33 50-47-137 Трубка 1
34 50-47-136 Трубка 1
35 700-40-9032 Пробка 1
35 700-40-9199 Прокладка 1
35 - Шайба 5Т 65Г 06 3
Отопитель-вентилятор