Запасные части ЧТЗ Запасные части ЧТЗ
Санкт-Петербург
Например:
Актобе
Алдан
или
Выбрать автоматически
Актобе
Алдан
Алматы
Алчевск
Архангельск
Астана
Астрахань
Атырау
Баку
Балашиха
Барнаул
Белгород
Бердянск
Бишкек
Владивосток
Владикавказ
Воркута
Воронеж
Горловка
Грозный
Донецк
Екатеринбург
Иваново
Ижевск
Иркутск
Казань
Калининград
Каменск-Уральский
Караганда
Каховка
Кемерово
Киров
Комсомольск-на-Амуре
Костанай
Краснодар
Красноярск
Красный луч
Ленск
Луганск
Магадан
Магнитогорск
Макеевка
Махачкала
Мелитополь
Минск
Мирный (Якутия)
Москва
Мурманск
Нерюнгри
Нижневартовск
Нижний Новгород
Нижний Тагил
Новая каховка
Новокузнецк
Новосибирск
Новый Уренгой
Норильск
Ноябрьск
Нур-Султан
Омск
Оренбург
Ош
Павлодар
Пермь
Петрозаводск
Петропавловск
Петропавловск-Камчатский
Псков
Ростов-на-Дону
Салехард
Самара
Санкт-Петербург
Саратов
Севастополь
Семей
Симферополь
Сочи
Ставрополь
Сургут
Сыктывкар
Тараз
Ташкент
Токмак
Томск
Тында
Тюмень
Ульяновск
Усинск
Усть-Каменогорск
Уфа
Хабаровск
Ханты-Мансийск
Херсон
Челябинск
Чита
Шымкент
Экибастуз
Энергодар
Южно-Сахалинск
Якутск
Ваш город
Санкт-Петербург
Войти
Запасные части к тракторам на одном сайте
+7 (932) 303-00-10
+7 (932) 303-00-10
г. Санкт-Петербург, 1-й Верхний переулок, д. 12Б
Пн-Пт: 9:30-18:30 Cб-Вс: Выходной
Отправить заявку


Установка агрегатов систем впуска и выпуска для тракторов, работающих в условиях повышенной запыленности на Т10М / Б10М


/
с НДС 20%
Описание
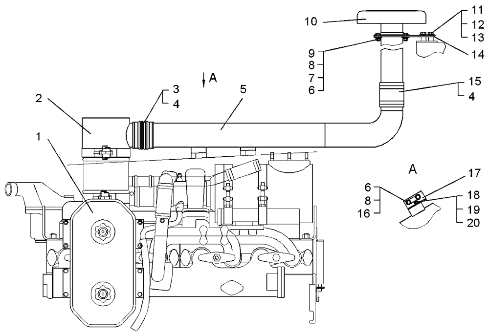
Установка агрегатов систем впуска и выпуска на Т10М (для тракторов, работающих в условиях повышенной запыленности)
#Номер запчастиНаименование деталиКол-во в сборке
151-05-215-01СПВоздухоочиститель1
251-05-422СППереходник1
359740Патрубок1
4700-41-2235-31СПХомут4
551-05-469СПТруба1
651-05-622-01Планка1
751-05-464СПТруба выхлопная1
851-05-616Экран1
951-05-36Втулка2
10-Болт М10x40.58.0192
1131308-1Шайба17
12-Болт М10х25.58.01912
13-Гайка М10.6.08920
1451-05-470СПВоздухозаборник1
15-Болт М12х25.58.0193
163135-1Шайба7
1751-05-621Опора1
18700-40-3484-01Рукав1
1951-05-115СПХомут4
2051-05-622Планка1
21-Шайба 10 ОТ 65Г 094
22-Болт М8х16.58.0192
23-Шайба 8Т 65Г 092
2431386Шайба2
25-Гайка М12.6.0194
26-Шайба 12 ОТ 65Г094
2751-05-106СПКронштейн1
28Шпилька М10 3p/6g х35.66.0836
29700-40-2636Прокладка1
3051-05-192СПГлушитель1
3151-05-247СПКронштейн1
3251-05-116СПБолт стяжной1
3351-05-295СПХомут2
34700-40-3484Рукав1
35700-28-2381Болт1
36-Датчик электрический сигнализатора засоренности воздушного фильтра
132.3839.600
132.3839.600-Э
132.3839.600-Т
1
37700-40-8742Рукав1
3870041-2235-17СПХомут2
3951-05-5Кронштейн1
4051-05-6Кронштейн1
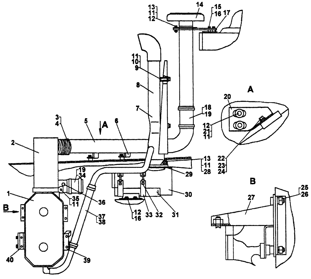
#Номер запчастиНаименование деталиКол-во в сборке
-65-05-25СПУстановка агрегатов систем впуска и выпуска (для тракторов, работающих в условиях повышенной запыленности)1
151-05-27СПУстановка агрегатов систем впуска и выпуска1
265-05-27СПУстановка агрегатов систем впуска и выпуска1
359740Патрубок1
4-Хомут червячный 90-110/12 W2 (Германия)4
551-05-469СПТруба1
6-Болт М10-6g×25.58.0198
7-Гайка М10-7Н.6.0194
8-Шайба 10 ОТ 65Г 098
931308-1Шайба4
1051-05-470СПВоздухозаборник1
11-Болт М12-6g×25.58.0193
12-Шайба 12 ОТ 65Г 093
133135-1Шайба3
1451-05-621Опора1
15700-40-3484-01Рукав1
163197Шайба4
1765-05-145Планка2
18-Болт М8-6g×16.58.0192
19-Шайба 8Т 65Г 092
2031386Шайба2
Установка агрегатов систем впуска и выпуска для тракторов, работающих в условиях повышенной запыленности